返回列表

位置:首页 > 媒体中心 > 行业新闻

免费开放VR仿真课程|1分钟带你学会螺纹紧固连接件的画法

发布时间:2020-05-06
浏览:540089
来源: 凤凰创壹

在圆柱或圆锥外表面上加工出来的螺纹叫外螺纹在圆柱圆锥内表面上加工出来的叫内螺纹螺纹基本要素5包括牙型、直径螺距线数、旋向如果内外螺纹相配合五要素必须相同。


 

图为100唯尔教育螺纹


今天100唯尔教育小编就结合100唯尔教育《机械制图VR仿真课程来介绍如何螺纹紧固连接

常见螺纹紧固件有螺栓螺柱螺钉、紧定螺钉螺母垫圈等。螺纹紧固件种类很多,但连接形式归纳为螺栓连接螺柱连接螺钉连接三种


螺栓连接

螺栓用于两个或两个以上不太厚并零件之间的连接为了便于装配通孔直径螺纹直接略大,螺栓连接通常采用比例画法。


 

图为100唯尔教育螺栓


 

图为100唯尔教育螺栓


 


螺栓连接的装配图时,注意

1.两零件的接触表面只画一条线,凡相邻不接触的表面,不论间隙大小,都应画出成两条线(螺栓和孔之间)。

2.剖切平面通过螺栓轴线时,螺栓、螺母、垫圈按不剖绘制,仍画外形。必要时,可采用局部剖视。

3.两零件相邻接时,不同零件的剖面线方向应相反,或者方向一致而间隔不等,同一零件的各个剖面区域,其剖面线应画法一致。

4.被连接件上加工的螺栓孔直径稍大于螺栓直径,取1.1d

5.螺纹紧固件的工艺结构,如倒角、退刀槽、缩颈、凸肩等均可省略不画。

6.为了保证装配工艺合理被连接件的光孔直径应比螺纹大径大些,一般按1.1d画,螺纹的有效长度应画成低于光孔顶面,以便于螺母调整、拧紧,使连接可靠


螺柱连接的画法

双头螺柱连接由双头螺柱螺母、垫圈组成。两个连接件有一个很厚或者不适合用螺栓连接时,常用双头螺柱连接双头螺柱两端加工有螺纹一端与连接件旋合,另一端螺母旋合


 

图为100唯尔教育螺柱


 

图为100唯尔教育螺柱


 

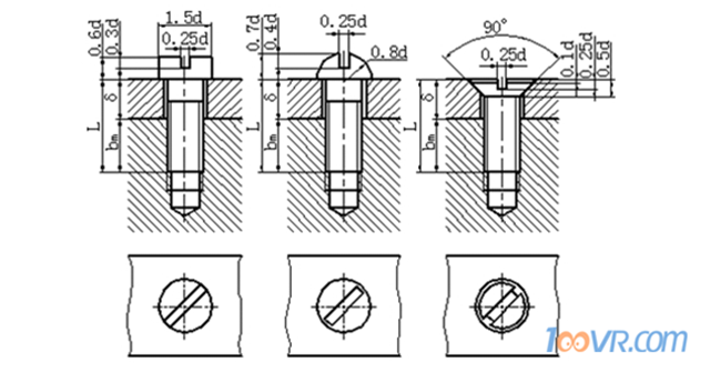
螺钉连接的画法

螺钉连接不用螺母,螺钉直接拧入连接件的螺孔螺钉连接一般用于受力不大又不经常拆卸场合。连接上面的零件钻通孔,直接比螺钉大径要一个零件加工成螺纹孔,然后将螺钉拧入,用螺钉头压紧被连接件螺钉的螺纹部分有一定的长度保证连接时的可靠性


 

图为100唯尔教育螺钉


 

图为100唯尔教育螺钉


 


画图注意:

1.螺钉螺纹终止线不能结合面平齐而应画在盖板范围内

2.具有沟槽螺钉头部在主视图被放正,俯视图规定45°倾斜。


以上,就是100唯尔教育关于螺纹轴的部分内容,抗击疫情期间,100唯尔教育110个专业、700多门课程统统免费对外开放,如果对今天的课程及其VR仿真资源感兴趣,可以直接上100唯尔教育搜机械制图”就可以找到对应的课程列表了。 

如何获取VR仿真课程

疫情期间,100唯尔虚拟现实仿真教学云平台(www.100vr.com)110个专业、700多门课程、800多万三维互动仿真资源向全社会免费开放,人宅心不宅,技术不能荒,各大院校师生在家也可以通过VR仿真实验操作在线学习专业技术!

方法1、长按识别下方二维码,下载APP之后注册即可0.01元购获得平台VR仿真资源。

 

 

方法2、复制以下链接在电脑上下载100唯尔教育网桌面客户端后注册使用教学云平台资源。

http://www.100vr.com/100vr/index/download_software?type=5

平台课程售价在疫情期间均为0.01元购买。因为三维虚拟现实仿真操作实训算力要求,建议使用独立显卡的PC端学习。

在这个疫情的非常时期,100唯尔教育网希望通过开放虚拟现实仿真实训教学平台和课程,帮助全国各大院校进行教育活动,更好地实现停课不停学



下一篇江苏持续推进职教体系建设改革

上一篇免费开放VR仿真课程|1分钟带你用数控铣床加工八边形凹凸件

大家都在看

一站式解决中高职——教育培训、招生、运营、管理难题

立刻联系我们

前台总机(全国):0592-2105111

技术支持中心(全国):0592-2529323

网络推广(全国):0592-2529338/15259229763

江苏分公司(江苏):025-68728205

联系QQ:2276133724

微信号:fhcy15259229763

您好,如有任何问题请联系我们,欢迎提交任何关于我们的问题和建议,我们将尽快回复您。

扫码下载APP

关注微信公众号

网站地图|分销联盟|100唯尔网

版权所有:厦门凤凰创壹软件有限公司 Onesoft © 2026 闽ICP备2023001879号